您的当前位置: 首页 > 资讯中心 > 行业资讯 > 正文

后桥轮毂废品原因的分析

  • 2015-5-7 14:15:13
  • 来源:江铃底盘股份有限公司

我公司某汽车后桥轮毂在加工过程中因没有加工余量而导致废品,本文对其具体原因进行了调查分析。

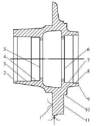
该零件为全浮式结构汽车后桥的轮毂(见图1),工艺流程中的其中一段为:半成品(外协)→半精加工→精加工。

 
图1 汽车后桥轮毂结构

内孔、端面和法兰面为该段工序的加工表面,如图2中粗线所示。该段加工工序采用数控车床加工:法兰A面贴平专用卡爪端面,卡爪夹紧外圆。车法兰B面→车止口→车端面→车台肩面5→车孔7→车孔8→车台肩面6→车孔4→车孔3→车孔2。

通过该工序加工后,大约有15%的台肩面5或台肩面6无加工余量而导致废品。通过调查,该轮毂半成品由两个厂家提供,通过统计两个厂家的半成品因台肩面5或台肩面6无加工余量产生的废品率,发现废品率相差不大,初步排除厂家制造问题。判定为加工工艺存在问题。

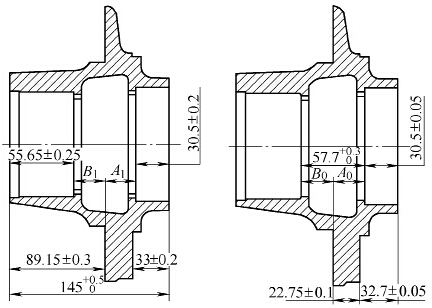
半成品的轴向尺寸及以上工序加工后轴向尺寸分别如图3和图4所示。


图2 加工表面示意

1.法兰A面 2、3、4、7、8.孔?5、6.台肩面 9.端面10.止口 11.法兰B面


图3 半成品轴向尺寸            图4 加工后轴向尺寸

通过计算,加工余量见表1。由表1可知,在极限尺寸时,台肩面5和台肩面6都存在无切削余量的情况(余量–0.3mm),由此,可以判定半成品图样设计余量不合适导致废品。

表1 台肩面加工余量         (单位:mm)

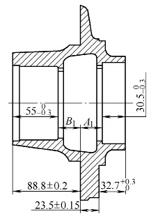
针对该问题,将半成品图轴向尺寸做如下调整(见图5),调整后,加工余量计算见表2。


图5 半成品轴向尺寸调整

表2 台肩面调整后的加工余量      (单位:mm)

结语

通过对半成品轴向尺寸的调整,使其半成品粗加工的精度在IT12~IT13,符合粗加工经济性要求,同时也满足后续工序的余量控制要求。完全杜绝了台肩面无加工余量而导致废品的现象,废品率由之前每月约15%下降为0%,消除了约4万余元的月经济损失,取得了较好的经济效益。(作者:邱春繁)

>会议报名点这里<

(jiao点com)



中国锻压网官方微信:扫一扫,立即关注!
关注"中国锻压网",获取独家行业新闻资讯。
添加方法1:
在“添加好友”中直接添加微信账号:chinaforge
添加方法2:
微信中扫描左侧的二维码
站内资讯搜索
淄博桑德
图片播报 更多>>
  • 中国研制成功大中型无人机发动机 打破国外垄断
  • 打破国外技术垄断 瓦轴高速线材轧机轴承研发取得突破
  • 合锻严建文当选2014年度十大徽商领军人物
  • 真相:中国机器人与外国差距到底有多大
关于我们 - 联系我们 - 站点地图 - 隐私策略 - 用户协议 - 法律声明 - 推广服务
京ICP备05075268号 版权所有(C) 2011 中国锻压协会
E-mail:info@chinaforge.org.cn    URL:www.duanxie.cn www.metalform.cn 客户服务热线:010-53056669 传真:010-53056644
地址:北京市昌平区北清路中关村生命科学园博雅C座10层 邮编:102206
语辰会展